|
Проблемы мелиорации. Часть 2.
ПРОБЛЕМЫ МЕЛИОРАЦИИ, ВОДОХОЗЯЙСТВЕННОГО СТРОИТЕЛЬСТВА И ОРОШАЕМОГО ЗЕМЛЕДЕЛИЯ СТАВРОПОЛЬСКОГО КРАЯ. ЧАСТЬ 2.
УДК 626.826:626.84 ИССЛЕДОВАНИЕ УСТОЙЧИВОСТИ КРИВОЛИНЕЙНЫХ УЧАСТКОВ ТЕРСКО-КУМСКОГО МАГИСТРАЛЬНОГО КАНАЛА
Эксплуатируемый в течение 20 лет Терско-Кумский магистральный канал (ТКМК) имеет протяженность 148,4 км и рассчитан на максимальный расход 100,0 м3/с.
Трасса канала проходит как в несвязных (песок), так и в связных легко
размываемых (супесь, лессовидные суглинки) грунтах. Канал с
проектным уклоном 0,0001 транспортирует наносы со средней нагрузкой потока.
По длине ТКМК имеет более 130 криволинейных в плане участков.
Практически на всем протяжении ложе канала деформируется. Но если
прямолинейные участки после значительного уширения по дну или
стабилизировались или
близки к этому состоянию, то криволинейные
продолжают деформироваться. На вогнутых берегах канала из-за
несоответствия показателя сопротивления грунта
размыву и
действующего касательного напряжения потока идут интенсивные эрозионные
процессы. Особо опасны они для прочности канала на участках, выполненных
в полувыемках-полунасыпях и насыпях. Последнее обстоятельство остро
ставит вопрос о стабилизации русловых процессов на криволинейных
участках ТКМК.
Производимое в настоящее время по проекту
«Севкавгипроводхоза» крепление отдельных поворотов железобетонными
плитами дорогостояще и, как нами
предполагалось, ожидаемого эффекта пока не дает.
Поперечные профили криволинейных и прямолинейных участков
существующих каналов с большими расходами, в том числе и ТКМК,
запроектированы, как правило,
симметричными.
Такая форма поперечного сечения канала в принципе не соответствует
физической структуре потока на изгибе. Опыт показывает, что на
криволинейных участках в
процессе эксплуатации русло каналов
приобретает ассиметричную поперечную форму с большими глубинами у
вогнутого берега аналогичную поперечным профилям рек.
Отсюда
совершенно логично для проектирования таких профилей криволинейных
участков каналов использовать методики, разработанные для определения
параметров устойчивых русел рек. В то же время к выбору конкретных
приемлемых методик для каждого канала надо подходить осторожно, так как
чаще всего они
основываются на экспериментальном материале и носят региональный характер.
Целью настоящих исследований, помимо разработки конкретных
рекомендаций по стабилизации поворотов ТКМК, является проверка и
дальнейшее усовершенствование
предложенного нами метода
проектирования устойчивых русел каналов с большой пропускной
способностью как на прямолинейных, так и криволинейных участках.
Исследования ведутся параллельно: в натуре на ТКМК и на размываемых
моделях типичных криволинейных участков канала. Модельные исследования
выполняются по
методике профессора В.С. Лапшенкова.
Проведенная часть исследований показала целесообразность
проектирования на криволинейных участках ассиметричных поперечных
профилей, а так же подтвердила
пригодность для определения их
параметров предложенного нами метода. Для стабилизации криволинейных
участков ТКМК в качестве альтернативы крепления
железобетоном их вогнутых берегов предложен проверенный в лаборатории вариант устройства на поворотах контрпрофилей. Контрпрофиль перераспределяет удельные расходы по ширине русла, увеличивая их значения у выпуклого и уменьшая у вогнутого берега, что в свою очередь приводит к прекращению деформаций в зоне последнего.
УДК 607.838 ЭФФЕКТИВНЫЕ СПОСОБЫ ГАШЕНИЯ ЭНЕРГИИ ВОДНОГО ПОТОКА ДЛЯ ТРУБЧАТЫХ ВОДОВЫПУСКОВ
Вопросами гашения энергии водного потока за трубчатыми водовыпусками
занимаются многие исследователи. Предложено немало простых, надежных и
эффективных
технических решений. Каждое из них имеет свои
достоинства и недостатки. На основании обзора проведенных ранее
исследований можно сделать вывод, что
наименьшие опасные размывы
сооружений в нижнем бъефе имеют место при выравнивании удельных расходов
в скоростей по ширине и высоте потока, а также когда
процесс гашения энергии потока сопровождается сильным его расщеплением.
В данной работе предлагаются конструкции гасителей для трубчатых
водовыпусков. Она основана на струйном расщеплении потока лопастями и
приведении его во
вращательное движение.
Для гашения энергии водного потока за трубчатыми водовыпусками на
открытых оросительных системах (при небольших диаметрах трубопровода)
рекомендуется
использовать конструкцию гасителя с односторонним
закручиванием потока. Гаситель включает горизонтальный участок, конец
которого имеет коническое
расширение. С внутренней стороны
данного расширения жестко закреплены криволинейные лопасти. Для
уменьшения силы давления струи на лопасти, угол их
поворота
постепенно увеличивается. Следовательно, тангенс угла наклона
касательной к кривой установки лопастей на развертке конически
расширяющегося
водовыпуска к концу увеличивается по линейному закону, где α — угол наклона касательной к кривой установки лопастей; К — коэффициент пропорциональности; х
и у — соответственно абсциссы и ординаты кривой установки лопастей в декартовой системе координат.
После интегрирования окончательно уравнение будет иметь вид.
Высота закручивающих лопастей к концу увеличивается постепенно до
величины не превышающей радиуса выходного отверстия. Так что в конце
оставляется проход
для выхода плавающего сора.
На оросительных системах с большой кинетической энергией потока при
отсутствии плавающего сора целесообразно использовать гасители со
сдвоенным
закручивателем потока. Коническое расширение этой
конструкции включает разделитель потока, имеющий снаружи и внутри
криволинейные лопасти, которые
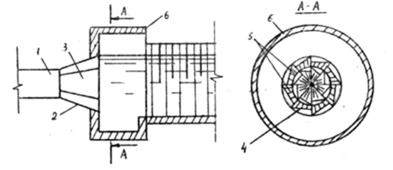
закручивают поток во взаимно противоположном направлении. Рис.1
Гаситель со сдвоенным закручивателем: 1 — водовод; 2 — коническое
расширение; 3 — сдвоенный накручиватель; 4 — разделитель потока; 5 —
лопасти; 6 —
цилиндрический насадок. Криволинейные лопасти на развертке боковой поверхности разделителя устанавливаются как и в случае с односторонним закручивателем. Для того, чтобы крутящий момент от закручивателя был равен нулю и не передавался на водовыпуск должно соблюдаться соотношение, где R1 и R2 — начальные радиусы конически расширяющегося водовывуска и разделителя»
УДК 627.421:532.5 ВЛИЯНИЕ ПЛАНОВОЙ ФОРМЫ ЗАЩИТНО-РЕГУЛИРОВОЧНЫХ СООРУЖЕНИЙ И ОСВОЕНИЯ МЕЖДАМБНОГО ПРОСТРАНСТВА НА ГИДРАВЛИКУ ПОТОКА
В лаборатории кафедры ГТС ТИИМСХ проводятся исследования по
изучению взаимодействия потока со шпорами, имеющими различные формы в
плане. На их основании
разрабатываются рациональные конструкции
берегозащитных сооружений, имеющих в плане оптимальную форму, которая
способствовала бы уменьшению глубины
воронки размыва и увеличению устойчивости сооружения. Установлено, что стеснение потока глухой шпорой со струенаправляющим оголовком, поставленным против
течения, приводит к двухразовому уменьшению глубины максимального
размыва. Надо отметить, что струенаправляющий оголовок способствует
существенному
увеличению угла отклонения потока, вследствие чего
отодвигается от головы шпоры воронка размыва на определенное расстояние,
увеличивается устойчивость
сооружения и интенсивность занесения
междамбового пространства. Между дамбами образуются отложения наносов
земля. Проводятся исследования по изучению
гидравлики стесненного потока с учетом частичного освоения междамбного пространства.
Известно, что при обтекании шпоры образуется область сжатия,
наблюдаются сложные изменения уровенного и скоростного режимов потока,
что не позволяет
применить уравнения гидродинамики. Опытным путем установлена возможность деления потока на гидравлически однородные зоны. На изменение границ между однородными зонами существенное влияние оказывает коэффициент, учитывающий плановую форму шпоры и коэффициент частичного освоения междамбного пространства. На основе анализа экспериментальных данных получены графические зависимости, позволяющие определить местоположение максимально сжатого сечения и границ между однородными зонами потока.
УДК 626.882 НАТУРНЫЕ ИССЛЕДОВАНИЯ РЫБОЗАЩИТНОГО УСТРОЙСТВА ОЛИНСКОГО ГОЛОВНОГО ВОДОЗАБОРА АСТРАХАНСКОЙ ОБЛАСТИ
Одинокое водозаборное сооружение расположено на подводящем канале,
который забирает воду из р.Волги и ильменя Чадо. Малопроточные водоемы
(ильмень) по
характеру являются, естественными нерестилищами и
зонами нагула молоди ценных промысловых пород рыб. К проектированию
таких водозаборов необходимо
относиться с учетом требований по нормативной рыбозащите.
Исследованный водозабор берегового типа расположен в центральной
части подводящего канала и представляет аванкамеру размером 55 х 6 м с
максимальной
производительностью 27 м3/с. Рыбозащитное устройство (РЗУ) представляет собой цилиндрические струереактивные барабаны с вертикальной осью
вращения. Вне барабанов с одной стороны к оси присоединены трубчатые
стояки с гибкими шлангами для подачи воды в промывные устройства
(флейты). При проведении исследований РЗУ решались следующие задачи:
Результаты гидравлико-биологических исследований показали:
Исследования гидравлических условий подводящего канала показали, что наиболее приемлемым является вариант размещения РЗУ на входе в подводящий канал. Рекомендуется РЗУ комбинированного типа:
Трассу рыбоотвода рекомендуется проложить по дамбе подводящего канала. Отвод молоди рыб осуществлять принудительно непосредственно в ильмень на расстояние 50-60 м ниже по течению от РЗУ.
УДК 666.972.16 ВЛИЯНИЕ ХИМИЧЕСКИХ И МИНЕРАЛЬНЫХ ДОБАВОК НА ФИЗИКО-МЕХАНИЧЕСКИЕ СВОЙСТВА ЦЕМЕНТНЫХ РАСТВОРОВ На исследование были поставлены следующие химические добавки:
В качестве минеральной добавки используется порошок (Т), получаемый
на основе отхода, образующегося при распиловке известкового камня.
В пропессе исследований определяли влияние добавок на пластичность и
прочность цементно-песчаных смесей. В качестве базового принят
цементно-песчаный
раствор с соотношением вяжущего вещества и
песке Ц:П=1:2 и водоцементным отношением В/Ц=0,5. Расплыв конуса базовой
смеси составил 106-115 мм.
Образцы-балочки для испытания растворной смеси на изгиб твердели в естественно влажных условиях в течение 28 суток.
При использовании ССБ, исходя из получения смесей повышенной
пластичности, соответствующей максимальному значению прочности,
оптимальное количество
добавки составляет 0,25% от массы цемента. При этом пластичность смеси увеличивается в 1,8 раза.
При введении НИЛ-20 максимальной прочности цементно-песчаных смесей
соответствует добавка 0,25% от массы цемента. При этом пластичность
смеси
увеличивается в 2,6 раза.
При использовании НИЛ-Т оптимальное количество добавки составляет
0,25% от массы цемента при увеличении пластичности смеси в 2,6 раза.
Введение добавки
НИЛ-Т в количестве 0,25% влияет на пластичность смесей аналогично добавке НИЛ-20, но прочность при изгибе несколько выше.
Оптимальное количество добавки ФТП составляет 0,5% от массы цемента и
дает увеличение пластичности цементно-песчаной смеси в 1,6 раза.
Добавка КЗД обладает высокой пластифицирующей способностью: при
введении 0,2% добавки пластичность смеси увеличивается в 2,2 раза.
Оптимальной принята
добавка 0,1-0,2% от массы цемента. Минеральный порошок не оказывает существенного влияния на пластичность растворной смеси, но несколько увеличивает ее прочность. Оптимальное количество добавки — до 10% от массы цемента.
УДК 621.791.46:678 О ПОВЫШЕНИИ КАЧЕСТВА СВАРКИ НАПОРНЫХ ПОЛИЭТИЛЕНОВЫХ ТРУБ ДИАМЕТРОМ 110 ММ
В строительстве трубопроводов для нужд водоснабжения все большее
применение находят трубы из полиэтилена. Увеличение срока службы труб
до 50 лет,
уменьшение эксплуатационных издержек, снижение затрат на сварочно-монтажные работы, экономия металла — вот далеко не весь перечень преимуществ
полиэтиленовых труб перед металлическими. При этом давление в
трубопроводах достигает 1,6 МПа. Эти достоинства позволяют все шире
внедрять их в
строительстве. Среди напорных труб полиэтиленовые низкого давления постепенно вытесняют металлические.
Качество трубопроводов зависит от соединения труб. В настоящее
время наиболее приемлемой является контактная сварка встык нагретым
инструментом.
Объединение «Ставропольводмелиорация» применяет
сварочные установки марки УСПТ 10-20, УСПТ 20-40, а в последнее время Об
2418, Об 2373, Об 2419 в
диапазоне диаметров труб от 63 до 400
мм. Сотрудниками лаборатории НСМиК были выявлены в процессе эксплуатации
сварочных установок их достоинства и
недостатки.
Наибольший объем по протяженности занимают трубопроводы диаметром
110 мм. Для повышения производительности труда при сварке в НПО
«Ставмелиорация»
разработаны фиксирующие приспособления на такие трубы. Испытано влияние приспособлений на качество сварных соединений. Результаты испытаний показали, что их применение повышает качество сварных соединений в полевых условиях за счет удлинения времени осадки шва в приспособлении. Предела прочности на разрыв сварных соединений, полученных в сварочной установке и в фиксирующем приспособлении идентичны.
УДК 631.312.633 ТЕХНОЛОГИЯ ПОДГОТОВКИ И ДОСТАВКИ ДРЕНАЖНЫХ ТРУБ НА ОБЪЕКТЫ СТРОИТЕЛЬСТВА
С развитием новых материалов и механизмов для производства
дренажных работ возникает необходимость в разработке соответствующих
способов подготовки и
устройства дренажной линии.
Существующая в настоящее время технология централизованной обмотки труб защитно-фильтрующими материалами (ЗФМ) и доставки готовых трубофидьтров в УПТК, а
оттуда к приобъектному складу, далее к месту укладки, предполагает
многократные перегрузки и длительное хранение трубофильтров. Все это
приводит к
повреждению защитно-фильтрующего покрытия. Поэтому
требуются дополнительные трудовые и материальные ресурсы на ремонт
трубофильтра, величина которых
составляет до 300-400 руб/км.
При существующем способе транспортировки готовых трубофидьтров
очень высока недогруженность автотранспорта. Поэтому предлагаемая
технология по отношению
к существующей имеет ряд преимуществ.
Транспортировка готовых трубофидьтров на дальние расстояния
исключается. Следовательно, нет опасности повреждения
защитно-фильтрующего материала.
Трубофидьтры готовятся по мере надобности на приобъектном складе в непосредственной близости от места укладки. Весь технологический процесс подготовки дренажных труб выглядит следующим образом:
По сравнению с существующей технологией подготовки и доставки труб новая предполагает снижение:
Годовой экономический эффект от использования предлагаемой технологии составит 63,81 тыс. руб.
УДК 666.972.16 ГИДРОТЕХНИЧЕСКИЙ БЕТОН С ДОБАВКАМИ ИЗ МЕСТНЫХ МАТЕРИАЛОВ
Применение химических и минеральных добавок производится для
улучшения качества бетона и экономии цемента и является наиболее
перспективным путем в
технологии бетона.
На исследование были поставлены химические добавки из местных материалов ФТП, КЗД, НИЛ-Т. В качестве минеральной добавки использовали порошок (Т).
Анализ результатов исследований растворных смесей показал, что
эффективными являются добавки в следующем оптимальном количестве:
ФТП-0,5%, КЗД-0,1-0,2%,
НИЛ-Т-0,25%, T-10%. Их количество принято в процентах от массы цемента.
При исследовании влияния добавок на свойства бетонной смеси за
базовый вариант принимали бетон марки 250 со следующими основными показателями.
Добавка НИЛ-Т увеличивает подвижность исходной бетонной смеси в 4,8
раза, способствует сокращению расхода цемента до 15%. При этом
прочность пропаренного
и твердевшего в нормальных условиях бетона увеличивается соответственно на 9 и 11%.
Требованию по водопроницаемости удовлетворяют лишь бетоны с минеральной добавкой. Проведенные исследования показали что:
УДК 631.6:532 ОПРЕДЕЛЕНИЕ ОБЪЕМОВ РЕМОНТНО-ВОССТАНОВИТЕЛЬНЫХ РАБОТ НА ОТКРЫТЫХ КОЛЛЕКТОРАХ С ПОМОЩЬЮ КРИВЫХ СВОБОДНОЙ ПОВЕРХНОСТИ ПОТОКА
В процессе эксплуатации открытых коллекторов происходит их
деформация в продольном и поперечном сечениях. Причинами этого являются
размывы и обвалы
бортов, заиление и зарастание русел. Уменьшение
пропускной способности коллекторов вызывает необходимость проведения
определенного объема
ремонтно-восстановительных работ.
Зная расход, размеры продольного и поперечного сечений, очертания
кривых свободной поверхности потока, можно судить о пропускной
способности коллекторов и
дрен, определить их возможные места
подтопления и заиления. При этом необходимый объем
ремонтно-восстановительных работ можно назначить по участкам, на
которых возникает нарушение работы системы.
Увеличить пропускную способность коллекторов можно одним из
способов: углубить дно, увеличивая тем самым уклон; изменить размеры
живого сечения или
провести одновременно два эти мероприятия. Назначенный объем работ проверяется новым расчетом кривых свободной поверхности потока, выполняемым по известным в гидравлике формулам. Из-за трудоемкости вычислительных работ в ИВЦ НПО «САНИИРИ» составлена программа для расчета и одновременного построения кривых свободной поверхности.
УДК 626.823.914 РАСЧЕТ НАДЕЖНОСТИ ОБЛИЦОВОК КАНАЛОВ С УЧЕТОМ ТРЕБОВАНИЙ ПРОТИВОФИЛЬТРАЦИОННОЙ ЭФФЕКТИВНОСТИ
Вопросы борьбы с потерями воды на фильтрацию имеют большое
народнохозяйственное значение. Наиболее эффективным решением данной
проблемы является устройство
различного рода
противофильтрационных одежд русл канала: монолитных бетонных и
железобетонных, сборных железобетонных, бетонопленочных и
грунтопленочных. Для оценки эффективности противофильтрационного
покрытия в течение длительного времени важную роль играет расчет
надежности данного типа облицовки.
Надежность — это свойство
объекта сохранять во времени в установленных пределах все параметры,
обеспечивающие выполнение требуемых функций в заданных
убловиях
эксплуатации. Надежность работы противофильтрационной облицовки
обуславливается ее безотказностью, долговечностью, ремонтопригодностью
и
сохраняемостью. Для определения надежности работы сборной железобетонной облицовки проведена статистическая обработка натурных данных с учетом наличия и характера трещинообразования, полученных при обследовании сборной железобетонной облицовки на Ш очереди Большого Ставропольского канала. В результате статистической обработки определены законы распределения трещин, что используется для расчета предельного срока службы облицовки в процессе эксплуатации на заданный период времени. Это позволяет оценить надежность данного типа противофильтрационной облицовки с учетом вероятностных статистических характеристик их повреждения в процессе эксплуатации каналов. Полученные зависимости позволяют также установить влияние срока эксплуатации на противофильтрационную эффективность облицовки.
УДК 626.8.66.067.1:677.486.7:678 О РАЗРАБОТКЕ ЗАЩИТНО-ФИЛЬТРУЮЩЕГО МАТЕРИАЛА ПИМ-«Ф»
За 1986-1987 гг. сотрудниками лаборатории новых строительных
материалов и конструкций был подобран состав опытного образца полотна
иглопробивного
мелиоративного, изготовленного на машине «ФЕРЕР» и
получившего название ПИМ-«Ф» Компоненты сырья — отходы текстильного,
ткацкого и других производств.
Годовой объем отходов до 100 т.
Результаты испытаний опытных образцов показали, что ПИМ-«Ф» отвечает требованиям, предъявляемым к ЗФМ.
На опытную партию объемом 5 тыс.м2 были разработаны и утверждены ТУ 63.86.6-87. Для испытаний ПИМ-«Ф» был заложен в опытные дрены как в
лабораторных, так и в полевых условиях. В натурных условиях дрены уложены в различных гидрогеологических зонах.
В лабораторных условиях нами был смоделирован фрагмент дрены d = 110
мм из пластмассовой гофрированной трубы, обернутой ПИМ-«Ф» без
песчано-гравийной
обсыпки в тяжелых суглинках. ПИМ-«Ф» был изъят из дрены и исследован в лаборатории ЗФМ Союзводполимера.
Микроскопический и структурный анализы бывшего в эксплуатации
образца ПИМ-«Ф» показали, что материал работоспособный и качественно
защищает дренажные
трубы от заиления.
Расчет и утверждение цены на ПИМ-«Ф» проведена согласно инструкции РД-50-79-83.
При переходе на промышленный выпуск было разработано техническое задание на изготовление установочной партии ПИМ-«Ф».
При утверждении технических условий материал прошел полные
приемочные испытания и по заключению комиссии может быть использован в
мелиоративном
строительстве для защиты дрен от заиления. В соответствии с ГОСТом технические условия на ПИМ-«Ф» утверждены и зарегистрированы с присвоением номера ТУ 33 РСФСР 62-68.
УДК 622.235 ПЕРСПЕКТИВЫ ПОНИЖЕНИЯ ЭФФЕКТИВНОСТИ УПЛОТНЕНИЯ ГРУНТОВ ГИДРОВЗРЫВНЫМ СПОСОБОМ В ГИДРОМЕЛИОРАТИВНОМ СТРОИТЕЛЬСТВЕ В гидромелиоративном, промышленном и жилищном строительстве для уплотнения грунтов с целью борьбы с просадочннми явлениями, создания противофильтрационных экранов в каналах и водоемах-накопителях все более широкое применение находит гидровзрывной способ [2], использующий энергию взрыва в предварительно замоченном грунте. Он обеспечивает наиболее полное и равномерное уплотнение грунта по всему объему, снижает трудоемкость и стоимость работ, дает значительную экономию материалов. Однако его широкое промышленное внедрение сдерживается из-за недостатков, характерных для всех видов работ с применением твердых взрывчатых веществ (ВВ). Это, прежде всего:
Поэтому для расширения промышленного внедрения данного способа
требуется существенно повысить безопасность и производительность работ,
исключать
малопроизводительный и опасный труд при изготовлении
специальных зарядов. Эти требования могут быть удовлетворены на основе
использования
взрывогенераторной технологии, разработанной в
ЦНИИПодземмаше Минуглепрома СССР для разрушения твердых материалов [1].
Основана она на использовании
жидких взрывчатых смесей (ЖВС) для
создания непрерывного взрывного процесса, регулируемого в широких
пределах по частоте (до 1200-1500 взрывов в минуту) и
мощности (8-600 г на импульс). Разработка и внедрение взрывогенераторной технологии уплотнения грунтов может дать большой мелиоративный и экономический эффект за счет повышения безопасности работ на основе замены традиционных твердых ВВ жидкими взрывобезопасными компонентами:
Для практической реализации потенциальных возможностей взрывогенераторной технологии необходимо провести научно-исследовательские работы:
ЛИТЕРАТУРА
УДК 33:69 СОВЕРШЕНСТВОВАНИЕ ОРГАНИЗАЦИИ МАТЕРИАЛЬНО-ТЕХНИЧЕСКОЙ БАЗЫ ВОДОХОЗЯЙСТВЕННЫХ СТРОИТЕЛЬНЫХ ОРГАНИЗАЦИЙ
За истекшее десятилетие активного развития мелиораций в
Нечерноземной зоне постепенно создавалась и совершенствовалась
материально-техническая база
водохозяйственного строительства. К 1987 году она выросла в мощную многоотраслевую систему.
Ныне на базе Главнечерноземводстроя особое место занимает производство сборного железобетона.
На современном этапе в Гдавнечервоземводстрое основное значение
приобретает интенсификация производства, улучшение использования уже
созданных
производственных мощностей.
Проведенный анализ показателей использования производственных
мощностей заводов железобетонных изделий позволяет сделать вывод о том,
что развитие этого
вида произдодства шло более высокими
темпами, чем спрос за эту продукцию, определяемый ростом объемов
подрядных работ. Расчеты показывают, что темп роста
ввода
мощностей по выпуску сборных железобетонных конструкций превысил
соответствующий показатель для подрядных работ более, чем в пять раз.
Отличительной особенностью материально-технической базы
мелиоративного строительства является индивидуальность значительной
части продукции промышленности
строительных материалов и
конструкций. Производимая продукция может быть использована лишь
организациями, ведущими мелиоративные работы и не может быть
реализована сторонним потребителям. В данных условиях решающее значение
имеет определение оптимального соотношения между темпами роста объемов
строительно-монтажных работ и мощностей предприятий материально-технической азы водохозяйственного строительства.
Для успешного выполнения намечаемых планов строительного
производства необходимы более высокие темпы развития предприятий
материально-технической базы.
В качестве измерителя уровня опережающего ее развития применяется коэффициент, определяемый по формуле, где R — коэффициент опережения, характеризующий отношение между среднегодовыми темпами прироста валовой продукции базы и объема строительно-монтажных работ; S — среднегодовой темп прироста объема строительно-монтажных работ, выраженный в процентах;
Р — среднегодовой темп прироста уровня применения валовой продукции
производственной базы на единицу строительно-монтажных работ,
выраженный в процентах.
Расчеты показывают, что для соблюдения необходимых темпов
индустриализации строительства коэффициент опережения его
производственной базы должен
поддерживаться на уровне 1,3. Выполненный ваш расчет коэффициента опережения развития производства сборного железобетона показал, что R = 1,51. Изучение использования мощностей железобетонных изделий и спроса строительных организаций на продукцию этих заводов свидетельствует о том, что при современных темпах роста объемов строительно-монтажных работ такое опережение выше оптимального, Определение оптимальных величин коэффициентов опережения развития этой отрасли материально-технической базы Главнечерноземводстроя является предметом дальнейших исследований.
УДК 338.984:626.8 ОСОБЕННОСТИ УЧЕТНОГО МЕХАНИЗМА ПРЭО В УСЛОВИЯХ ПЕРЕХОДА НА ХОЗЯЙСТВЕННЫЙ РАСЧЕТ И САМОФИНАНСИРОВАНИЕ
Новой перспективной организационной формой эксплуатации
мелиоративных систем и их технического обслуживания является
производственное
ремонтно-эксплуатационное объединение (ПРЭО).
Оно образуется главным образом в результате слияния
ремонтно-строительных ПMK и районных управлений эксплуатации
мелиоративных систем.
До объединения управлений эксплуатации мелиоративных систем,
являвшихся бюджетными организациями, хозяйственная деятельность
учитывалась на балансе
исполнения сметы расходов. Весь комплекс
ремонтно-эксплуатационных работ по межхозяйственной сети
финансировался из средств госбюджета, участки же
ремонтно-строительных ПМК занимались капитальным, текущим ремонтом,
общестроительными работами и отражали свою деятельность в балансе по
основной
деятельности подрядной организации.
С образованием ПРЭО работы на межхозяйственной сети продолжает
финансировать госбюджет. Внутрихозяйственную сеть на основе прямых
договоров с хозяйствами
обслуживают хозрасчетные участки, ранее входившие в состав ПМК.
Основными экономическими преимуществами объединения является
улучшение организации ремонтно-эксплуатационных работ, увеличение
объемов, совершенствование
структуры подрядных работ, расширение площади техобслуживания и повышение его качества.
Комбинирование ремонтно-строительных и эксплуатационных работ в
одной организации, к сожалению, не отразилось положительно на
экономической и учетной
деятельности в ПРЭО, а наоборот,
усложнило ее. Об этом свидетельствует наличие двух балансов и,
следовательно, двух видов бухгалтерского учета; ПРЭО имеет
несколько счетов в Госбанке, что для одной организации крайне не
желательно, т.к. усложняет финансовые операции и часто приводит к
нарушению финансовой
дисциплины.
Нередко, например, возникает такая ситуация, когда к сроку выдачи
заработной платы работникам, находящимся на подряде, на расчетном счете
51 нет нужной
суммы. ПРЭО идет на нарушение снимая деньги с
бюджетного счета. Бывает и обратная ситуация, когда подрядные средства
используются для выдачи зарплаты
работникам, содержащимся за счет бюджетного финансирования.
Часть находящейся в ПРЭО техники содержится на бюджетном
финансировании, т.е. оплата труда машинистов идет из бюджета. Однако
часто наблюдается перерасход
фонда зарплаты на запланированный по межхозяйственной сети объем работ. Это происходит, когда данная техника используется на подряде, а заработную плату
машинисты получают из бюджетных средств. Трудно при этом правильно
осуществить учет
амортизационных отчислений.
Иногда при выполнении подрядных работ в хозяйствах ПРЭО расходует
получаемые средства на приобретение материалов, выплату заработной
платы, но при этом
привлекается бюджетная техника. В результате в
акт на выполненные работы, кроме затрат на материалы, зарплату и т.д.
войдут еще и затраты по
использованию бюджетной техники, а
прибыль будет относиться только на подрядную деятельность. Очевидно, что
работники, содержащиеся на бюджетном
финансировании, в сложившейся ситуации не могут быть заинтересованы в производительном труде.
От подрядной деятельности ПРЭО получает прибыль, а следовательно,
создаются фонды экономического стимулирования, за счет которых
работающие на подряде
люди пользуются путевками и различными
льготами. А так как по бюджетной деятельности ни прибыль, ни ФЭС не
формируются, то и никаких льгот соответственно
быть не может.
Складывается ситуация, когда сотрудники одной организации, выполняющие
практически одинаковую работу, получают различное материальное и
моральное вознаграждение. Из всего изложенного можно сделать следующий вывод. На данном этапе подготовки к переходу на хозрасчет и самофинансирование в ПРЭО значительно усложнился учетный механизм. Возникла острая необходимость коренным образом изменить систему учета с тем, чтобы упорядочить ее и исключить возможности для нарушения финансовой дисциплины. С этой целью ведется разработка методики по единому бухучету и составлению единого баланса в ПРЭО.
УДК 338.984:626.8 СРАВНИТЕЛЬНЫЙ АНАЛИЗ ДВУХ МОДЕЛЕЙ ХОЗРАСЧЕТА В МЕЛИОРАТИВНО-СТРОИТЕЛЬНЫХ ОРГАНИЗАЦИЯХ
Полный хозрасчет направлен на достижение в интересах общества наилучших результатов при наименьших затратах. Его основными элементами являются:
Полный хозрасчет представляется двумя формами. Каждой из них присущи
свои особенности. Существование двух форм хозрасчета — не случайность.
Оно
обусловлено развитием отношений общенародной собственности
на современном этапе и определяемым им изменением места предприятия в
системе общественного
производства.
При переходе на полный хозрасчет коллективы подрядных строительных
организаций в зависимости от особенностей производственной деятельности
могут выбирать
одну из двух его моделей.
Первая основана на нормативном распределении прибыли. Фонд зарплаты
устанавливается по нормативу. Из прибыли производятся расчеты с бюджетом
и вышестоящими
организациями. Образовавшаяся после этих расчетов
остаточная прибыль поступает в распоряжение трудового коллектива и из
нее формируются фонды
экономического стимулирования.
Вторая модель базируется на нормативном распределении дохода,
подученного после возмещения из выручки материальных затрат. В отличие
от прибыли доход
представляет собой всю реализованную
предприятием вновь созданную стоимость, которая предстает как прибыль и
зарплата. Из дохода производятся расчеты с
бюджетом и
вышестоящей организацией, после чего образуется хозрасчетный доход.
Единый фонд труда образуется как остаток хозрасчетного дохода
организации
после образования из него фондов: развития
производства, науки и техники, социального развития, определяемых по
нормативу к хозрасчетному доходу.
При I форме хозрасчета экономия иди перерасход материальных
ресурсов сказывается только на размерах фондов экономического
стимулирования. Эта модель
предусматривает увязку размеров ФЭС с
величиной полученной прибыли, но на зарплату коллектива результаты его
хозрасчетной деятельности не влияют. Подобный
метод определения зарплаты побуждает «рвать» объемы любой ценой, невзирая ни на какие затраты.
При II модели и фонд зарплаты и ФЭС находятся в прямой зависимости
от размеров полученного дохода. Она не оставляет возможности
предприятию работать с
убытком и при этом исправно выплачивать зарплату.
При существующей системе контроля в строительных организациях
затраты производства отражаются в бухгалтерском учете уже после
проведения хозяйственных
операций и фиксируются как свершившийся
факт. Это приводит к тому, что главное — это выполнить план, а какой
ценой — не столь важно. Усилить же материальную и моральную заинтересованность работников в достижении рентабельности, увеличении объема производства с наименьшими затратами поможет противозатратный механизм. Но при I модели одна из наиболее весомых статей затрат — зарплата. Предприятие станет стремиться к получению наибольшей зарплаты путем наращивания объемов дорогостоящих работ, не заботясь об экономии, т.к. заинтересованность коллектива в зарплате не идет ни в какое сравнение с его заинтересованностью в получении выплат из ФМП. Следовательно, на основе I модели невозможно создать надежно действующий противозатратный механизм. II модель решает эту задачу. В получении максимального дохода (и следовательно в снижении всех материальных затрат) заинтересован весь коллектив.
Т.А. Паньшина РАЦИОНАЛЬНЫЕ ФОРМЫ ОРГАНИЗАЦИИ ТРУДА НА ЗАГОТОВКЕ КОРМОВ В УСЛОВИЯХ ИНТЕНСИФИКАЦИИ КОРМОПРОИЗВОДСТВА
В современных условиях совершенствование системы кормопроизводства
для полного обеспечения потребности общественного животноводства
дешевыми кормами в
необходимом объеме, структуре и качестве имеет
важное значение. Достигнутый в настоящее время уровень производства
кормов не отвечает возросшим
потребностям животноводства. На условную голову расходуется 26-27% ц.к.ед., что на 25-27% ниже его рационального уровня.
В настоящее время продолжается поиск рациональных форм организации
кормопроизводства, обособления его как специализированной отрасли.
Трудность
заключается в том, что, во-первых, невозможно
обеспечить круглогодичную занятость работников, во-вторых, трудоемкость
процессов возделывания кормовых
культур и заготовки кормов
различна. На них приходится 60-80% общей трудоемкости. В этих условиях
организация производства требует гибкого подхода.
Выращивание
культур должно возлагаться на постоянные хозрасчетные коллективы,
действующие на принципах подряда, а заготовка кормов на временные
отряды.
Последние сформированы на основе постоянных коллективов с привлечением работников автотранспорта и сферы обслуживания.
Методы формирования отряда на заготовке кормов — это проектирование
поточных линий и установление комплексных норм, применение которых
решает вопросы
разделения, кооперации труда и его оплаты.
Эти принципы направлены на обеспечение ритмичности и непрерывности
трудовых процессов, достижение запроектированной выработки, лучшее
использование машин
на каждой операции.
Совершенствование организации труда на заготовке кормов — один из
важнейших вопросов, от правильного решения которого зависит не только
количество, но и их
качество. Например, в совхозе им. Лакина
Владимирской области в 1987г. нарушили ранее применявшиеся
научно-обоснованные формы организации труда в крупном
индустриальном производстве, где мощный отряд разделили на 4 мелких по
количеству отделений. Это привело не только к уменьшению валового сбора
кормов, но
из-за растягивания сроков уборки полей — к увеличению
затрат труда на I т кормов и снижению их качества. Причем последнее
обусловлено не только нарушением
технологических сроков закладки
крупной траншеи (4-5 тыс.т сенажа), но и поступлением неоднородной по
органическому составу и влажности массы. В результате резко снизилось качество сенажа. Стоимость I т. корм.ед. с учетом качества сократилась на 17,27 руб., что в целом по совхозу привело к потере кормов на 201,3 тыс.руб.
Л.А. Мильченко МЕТОДИЧЕСКИЕ ОСНОВЫ ОРГАНИЗАЦИИ РАЦИОНАЛЬНОГО ХРАНЕНИЯ КОРМОВ
Развитие животноводства находится в прямой зависимости от кормовой базы, основу которой составляют зеленые корма.
Их частично скармливают непосредственно, остальные консервируют и
хранят в виде сена, сенажа или силоса. Величина запасов кормов зависит
от типа и
размера фермы или комплекса, рациона кормления,
источников поступления кормов (собственное производство, из госресурсов и
т.д.), вида кормов.
Каждому из методов консервирования свойственна определенная
технология, которая должна обеспечить оптимальный уровень сохранности
питательных веществ. В
свою очередь, эффективность сохранности
кормов в значительной мере определяется правильным выбором типа и
размера хранилища.
Хозяйства должны использовать наиболее соответствующие данным
условиям способы хранения кормов в соответствии с агротехникой,
размерами ферм,
обеспеченностью рабочей силой, уровнем механизациии, т.е. выбор типоразмера невозможен без привязки к конкретным условиям. Поскольку значительная часть капитальных затрат при строительстве животноводческих комплексов и ферм приходится на хра
нилища, то важно правильно выбрать тип и размер хранилища.
Тип хранилища должен быть наиболее экономичным, т.е. обеспечить
наименьшие потери и минимальную себестоимость корма, приспособленным для
максимального
использования техники и иметь минимальную открытую поверхность, достаточно герметичным.
Количество хранилищ на ферме должно быть минимальным и определяться
потребностью в кормах. Общими для всех видов кормов факторами выбора
типа и размера
хранилищ являются: поголовье скота, способ и
рацион кормления, финансовые возможности хозяйства, условия размещения,
срок эксплуатации, возможные потери
корма, уровень механизации.
В настоящее время единый подход к решению вопроса о выборе типа и
размера хранилища отсутствует как в науке, так и в практике. Нет
обоснованной системы
хранилищ и не разработаны методические основы для их типизации и выбора с учетом конкретных условий.
Комплекс сооружений по хранению кормов не обеспечивает надежность
сохранности. При общей недостаточной обеспеченности хранилищами
основными причинами
снижения сохранности кормов являются
несоответствие емкостей хранилищ техническим возможностям хозяйства,
растягивание сроков закладки емкостей и
снижение качества их заполнения, недостаточная герметизация и укрытие, нарушение процесса консервирования.
Некоторые хозяйства строят траншеи большей емкости, чем требуется.
Так, в ряде хозяйств Владимирской области средний размер емкостей для
хранения сенажа и
силоса составляет 1500 т, хотя большая часть
скота размещена на фермах с поголовьем 200-400 коров. Вместе с тем
техническая оснащенность хозяйств и
недостаточный уровень
использования средств механизации приводят к тому, что сроки загрузки
траншей увеличиваются до 10-12 дней.
Стоимость единицы объема силосных и сенажных сооружений зависит от
их размера и уменьшается с увеличением объема. Поэтому размер траншей
должен быть увязан
с возможностью заполнения ее за 3-6 дней. Чем
меньше хранилище, тем легче обеспечить его быстрое заполнение и
хорошее укрытие. Недостатком траншей
небольшой емкости являются
большие потери при хранении. Силосные траншеи большой емкости отличаются
высокой технологической надежностью, низкой
капиталоемкостью и небольшой потребностью в площади.
Вместе с тем, анализ данных, проведенный в хозяйствах Московской
области, показывает, что с увеличением размеров траншей сроки закладки
кормов на хранение
увеличиваются, а качество снижается. Так, по
срокам закладки сенажа траншеи распределились следующим образом: до 5
дней на долю траншей емкостью до 1000 т
приходится 38%, до 1500 т
— 15%, свыше 1500т — 4%, более 5 дней соответственно 22, 15 и 6%.
Удельный вес сенажа I-II класса с увеличением емкости траншей
снижается с 67 до 18%, а их количество с 55 до 3%. Противоречивость характеристик хранилищ и результатов экономической оценки хранения кормов требует оптимальных решений по этому вопросу с учетом конкретных условий хранения в хозяйствах и достижения лучших экономических показателей и сохранности кормов.
УДК 631.6.003 О ВНЕДРЕНИИ ПЛАТНОГО ВОДОПОЛЬЗОВАНИЯ В УПРАВЛЕНИИ ЭНГЕЛЬССКОЙ ОРОСИТЕЛЬНО-ОБВОДНИТЕЛЬНОЙ СИСТЕМЫ САРАТОВСКОЙ ОБЛАСТИ
На протяжении длительного времени делались попытки улучшить
использование водных ресурсов и повысить уровень управления
оросительными системами (УОС).
Предпринимаемые меры сводились в
основном к различным административным и структурным преобразованиям, что
не давало, как правило, ожидаемого результата.
Анализ работы Энгельсского управления эксплуатапии указывает на его
слабую производственно-экономическую связь с
хозяйствами-водопользователями. Это
отрицательно сказывается на
повышении урожайности сельскохозяйственных культур, рациональном
использовании поливных земель и оросительной воды.
Многие недостатки в работе УОСов и обслуживаемых ими хозяйств
вызваны отсутствием между ними хозрасчетных отношений. Отсутствие
водомерных устройств,
несовершенные экономические взаимоотношения
между управлением эксплуатации и хозяйствами-водопользователями
приводят к нерациональному использованию и
сбросу воды. В
результате возрастают затраты на ее дополнительную подачу, создается
угроза ухудшения мелиоративной обстановки на поливных землях.
Исследованием установлено, что наиболее приемлемой формой
хозрасчета на основе платности водопользования являются, «услуги по
подаче оросительной воды».
Величина одноставочного отпускного тарифа определилась в размере 1,56 коп/м3 (без учета забора воды из источника орошения), а с его учетом —
2,69 коп/м3. Величина деухставочного отпускного тарифа, с учетом забора воды из источника орошения, рекомендуемого для применения, составит за площадь (погектарная ставка) — 30,1 руб/га и за воду (покубометровая ставка) — 2,02 коп/м3.
УДК 338.94:626.8 перейти в раздел Статьи |
Наш телефон:
+7-919-240-00-00
Быстросборные трубы
оросительных систем
оросительных систем
Статьи

